XB-ART-9778
J Gen Physiol
2001 Jan 01;1171:69-89.
Show Gene links
Show Anatomy links
Electrostatics and the gating pore of Shaker potassium channels.
Islas LD, Sigworth FJ.
???displayArticle.abstract???
Various experiments have suggested that the S4 segment in voltage-dependent Na(+) and K(+) channels is in contact with a solvent-accessible cavity. We explore the consequences of the existence of such a cavity through the electrostatic effects on the gating currents of Shaker K(+) channels under conditions of reduced ionic strength S. We observe that approximately 10-fold reductions of intracellular S produce reductions of the measured gating charge of approximately 10%. These effects continue at even lower values of S. The reduction of gating charge when S is reduced by 10-fold at the extracellular surface is much smaller (approximately 2%). Shifts of the Q(V) curve because of a reduced S are small (<10 mV in size), which is consistent with very little fixed surface charge. Continuum electrostatic calculations show that the S effects on gating charge can be explained by the alteration of the local potential in an intracellular conical cavity of 20-24-A depth and 12-A aperture, and a smaller extracellular cavity of 3-A depth and the same aperture. In this case, the attenuation of the membrane potential at low S leads to reduction of the apparent gating charge. We suggest that this cavity is made by a bundle of transmembrane helices, and that the gating charge movement occurs by translocation of charged residues across a thin septum of approximately 3-7 A thickness.
???displayArticle.pubmedLink??? 11134232
???displayArticle.pmcLink??? PMC2232467
???displayArticle.grants??? [+]
Species referenced: Xenopus laevis
Genes referenced: grap2 tbx2
???attribute.lit??? ???displayArticles.show???
|
|
Figure 1. Analytical solution of the linearized Poisson-Boltzmann equation for a planar membrane of 30 Å thickness. The ionic strength in the outside solution is fixed at 318 mM (κ−1 = 7.6 Å) and, in the intracellular side, it is reduced from 318 to 24 mM (κ−1 = 29.1 Å) and 12 mM (κ−1 = 39.7 Å). The imposed membrane potential is −100 mV. The fraction of membrane potential that decays in the intracellular bath is 0.75, 2.1, and 2.8% of the total potential, respectively. The potential decays exponentially on the internal and external side of the membrane and linearly in the membrane region. Note the different scales used to represent the potential in the solutions and in the membrane. |
|
|
Figure 2. Effects of low ionic strength solution (24 mM) on the gating charge movement in Shaker. (A) Gating current traces at +20 mV from a holding potential of –90 mV, before (continuous trace) and after (dotted trace) perfusion on the intracellular side of a patch. The dashed curve is the gating current predicted by the model, corresponding to the high S current. (B) The variance of the gating current at +20 mV calculated from fluctuation analysis of the gating current. The continuous trace is the variance in the control solution, and the dotted trace is the variance in the low ionic strength solution. A reduction of 10% in the charge predicts a reduction of 20% in the gating charge variance. The light curves superimposed in the variance are the prediction according to . The gating current was calculated according to the simple irreversible scheme:SCHEME 1.with α = 2,380 s−1, q1/q2= 0.011eo, and β = 2440 s−1 for the high ionic strength; and α = 2,500 s−1, q1/q2= 0.005, and β = 2390 s−1 for low ionic strength. (C) The Q(V) relationship for the patch in A. Open symbols are the charge in low ionic strength (24 mM) and closed symbols are the control (318 mM). Continuous curves are fits to the Boltzmann activation function (see materials and methods). The following are parameters of the fit for 24 mM: Qmax= 29.3 fC, V0.5= −42.6 mV, and qg= 3.1 eo. For 318 mM: Qmax= 31.9 fC, V0.5= −39.6 mV, and qg= 3.0 eo. |
|
|
Figure 3. Effects of low ionic strength solutions (12 mM) on the gating currents of Shaker. (A) Gating current traces before and after perfusion of the intracellular side of a patch for depolarizations from−30 to 60 mV from a holding potential of −90 mV. (Left) Internal solution is control Cs (S = 318 mM); (right) S = 12 mM. The spikes of the current at the beginning of the OFF gating current trace are produced by an artifact of leak subtraction. (B) Traces at the indicated potential from the same patch in A before (continuous line) and after (dotted line) perfusion with the low ionic strength solution in an expanded time scale. (C) The full Q(V) relationship. Open symbols are the charge in low ionic strength and closed symbols are the control. A reduction of ∼16% in the charge is apparent from this patch. The continuous curves are fits to a Boltzmann function. The dotted curve is the scaled fit to the low ionic strength data. The parameters of the fits are as follows. For S = 318: Qmax= 12.4 fC, V0.5= −4.4 mV, and qg= 1.7 eo. For S = 12 mM: Qmax= 10.5 fC, V0.5= −44 mV, and qg= 1.9 eo. |
|
|
Figure 4. Ionic strength effects on ionic currents of Shaker. (A) I(V) relationships obtained from ramps of voltage (0.32 mV/ms) using S = 318 K-Asp intracellular K+ solution and switching to S = 12 mM intracellular solution. The external solution is pipet K. The continuous curves superimposed in the I(V) curves are fits to a open channel I(V) curve derived from a single barrier permeation model according to IV=GaKie−1−δzeoVkT−KoeδzeoVkT, where [K]o and [K]i are the extracellular and intracellular potassium concentrations, respectively, δ is the electrical distance, and z is the valence; eo, k, and T have their usual meanings. Ga has units of nanoamperes per millimolar. The values used in the fit are for S = 318 mM, δ = 0.7, and Ga = 0.37 nA/mM. For S = 12 mM, δ = 0.7 and Ga= 0.23 nA/mM. The value of z remained constant at unity. (B) The relative open probability as a function of voltage at three different ionic strengths. The continuous traces are obtained from the ramps in A by dividing by the open channel I(V) function. Boltzmann fits show that the lowest ionic strength solution (12 mM) produces a 10-mV shift in the hyperpolarizing direction. The shift at 24 mM is 6 mV. (C) Nonstationary noise analysis of currents at −20 mV recorded at 8 kHz bandwidth. The effect of the lower ionic strength is to increase the single channel conductance by a small factor that accounts for the increased variance, while the change in the open probability and the number of channels is also small. The estimated values from a fitted parabola (continuous curves) are as follows: at 318 mM, i = −0.24, pA, N = 5,624, and pmax= 0.81. At 12 mM, i = −0.3 pA, N = 5,605, and pmax = 0.67. |
|
|
Figure 5. Effects of mannitol-containing low ionic strength solutions (12 mM) on the gating charge movement in Shaker. (A) Gating current traces before and after perfusion of the intracellular side of a patch for depolarizations from –90 to 30 mV. (Continuous trace) 318 mM(CsCl); and (dotted trace) 12 mM CsCl, with mannitol substituted for sucrose. (B) Two different patches at 30 mV in control solution (continuous line) and after (dotted line) perfusion with the S = 12 mM mannitol solution in an expanded time scale. (C) The full Q(V) relationship for the top patch in B. Open triangles are the charge in S = 12 mM, and closed triangles are the control in S = 318 mM. A reduction of 14.5% in the charge is apparent from this patch. The continuous curves are fits to a Boltzmann function. The parameters of the fit are as follows: at 12 mM, Qmax= 5.7 fC, V0.5= −45.1 mV, and qg= 2.4 eo. At 318 mM, Qmax= 6.6 fC, V0.5= −44.3 mV, and qg= 2.0 eo. |
|
|
Figure 6. Tests for possible charge immobilization produced by slow inactivation of Shaker channels. (A and B) Representative average gating currents obtained from 10 sweeps for depolarization from –90 to 0 mV. The pulse interval was 200 ms for averaging, and an average was acquired every 9 s. The high S solution in A was intracellular control NMDG and the low S solution in B was intracellular 24 (Table ). (C) The ON gating charge plotted as a function of time for the patch in A and B. The total observation time was 37 s in each solution. The charge in either solution remains constant for the duration of the patch life, indicating that at least in this period there is no detectable charge immobilization. (D) Reversibility of the S effect. Gating current and its time integral are shown from a different patch. The thick trace is the control; the dotted trace is the gating current or charge in the low S solution (24 mM); and the thin trace is the gating current or charge after return to the high S solution 4.5 min later. In this particular experiment, the charge recovers to 98% of the control. |
|
|
Figure 7. Extracellular effect of low ionic strength solutions on charge movement. (A) Gating current traces from the cut-open oocyte clamp in extracellular control solution S = 325 mM are on the left. The right panel shows currents at S = 28 mM. (B) The corresponding Q(V) relationships. The parameters of the fitted Boltzmann function (continuous curves) are at S = 28 mM, Qmax= 8.7 nC, V0.5= −38.6 mV, and qg= 2.3 eo. At S = 325 mM, Qmax= 8.3 nC, V0.5= −41.8 mV, and qg= 2.5 eo. The maximum charge is reduced 4.2%. Closed symbols represent the control charge, and open symbols are the charge in low ionic strength. (C) Gating currents from a different oocyte recorded using the two-microelectrode voltage clamp. The low ionic strength solution is extracellular 16 mM. (D) Q(V) relationships of the experiment in C. Open circles correspond to the charge in low ionic strength. The following are parameters of the fitted Boltzmann function at S = 16 mM: Qmax= 7.7 nC, V0.5= −38.2 mV, and qg= 2.9 eo. At S = 325 mM: Qmax= 7.7 nC, V0.5= −42.5 mV, qg= 2.2 eo. The charge is reduced by 5.2% in the S = 16 mM solution. |
|
|
Figure 8. Comparison of gating current kinetics at high and low extracellular ionic strength. (A) Gating currents at 0 mV obtained with the cut-open voltage clamp. The faster trace was obtained at S = 325 mM and the slower trace corresponds to S = 16 mM. It is evident that both the ON and OFF kinetics are slowed down. (B) Comparison of the time constants of current decay, τon. ON gating currents were fitted to a single exponential function, and the time constant was plotted as a function of voltage. Open symbols are the data points at low ionic strength (S = 16 mM). Closed symbols are the data at high ionic strength (S = 325 mM). Squares correspond to data obtained with the two-microelectrode voltage clamp, and triangles correspond to cut-open voltage clamp. Solid lines correspond to fits of the most depolarized points to the function: τon(V) = τon(0) · exp(−qonV/kT). The values of qon are as follows: (open triangles) 0.41 eo; (open squares) 0.44 eo; (closed triangles) 0.47 eo; and (closed squares) 0.37 eo. (C) Time constant of decay τOFF(V) for OFF gating currents. A single exponential was fitted to the decay phase of the current and is plotted as a function of the potential during the activation pulse. The upper panel in the figure is the relative open probability p(V) as a function of voltage, obtained from conducting channels (ShΔ) recorded from a cell-attached patch in low external K+ solution with high S (295 mM). Note that the function τOFF(V) has a similar voltage dependence to p(V). |
|
|
Figure 9. Numerical solutions of the linearized Poisson-Boltzmann equation in cylindrical coordinates for a cylindrical cavity in the membrane. (A) Schematic representation of the geometry used for the calculations. The grid dimensions were 0.5 Å in the r (radial) direction and 0.5 Å in the z direction. The membrane thickness was 30 Å. (B, left) potential distribution at high (318 mM) internal ionic strength. Isopotential lines were plotted at intervals of 0.006V, where V is the imposed membrane potential. (B, right) Potential distribution with low internal ionic strength (12 mM). The values of S are indicated in each panel. (C) Dependence of the apex potential (φa) on the depth of a cylindrical cavity of radius ra= 3 Å. The calculation was run at the following depths: 3, 5, 10, 15, 20, 25, and 27 Å. Notice that the largest reductions of φa are obtained with a deep cavity and low S. (D) Continuous lines are the absolute potential reduction calculated as Δf = fa(318) − φa(S), where φa(318) is the value of φa at 318 mM and φa(S) is φa at S = 24 or 12 mM. The data points correspond to the mean ± SEM of the experimentally measured reductions of gating currents plotted arbitrarily at a depth of 24 Å. (E) Potential at the apex φa of a 25-Å-deep cavity as a function of the radius ra at the indicated values of S. (F) The potential change Δf calculated from the data in E. The continuous line represents the potential reduction Δf with S = 24 mM, and the dotted line is Δf at S = 12 mM. The data points are plotted at an arbitrary radius of 3 Å. The small circles represent the asymptotic value of the potential reduction for an infinite membrane of 5 Å thickness at the indicated values of S, which was obtained with the analytical solution presented in . |
|
|
Figure 10. Numerical solutions of the linearized Poisson-Boltzmann equation for two different geometries. (A) Truncated conical cavity. The membrane thickness was 30 Å, and the cone radii were fixed at ra = 3 Å and rm = 10 Å as the cavity depth was varied. The top diagram is a schematic representation of the geometry. The potential difference in the short slab of membrane was calculated as Δfm = φa − fe, where φa is the potential at the apex of the internal cavity and φe is the potential at the external surface of the membrane axially opposite to φa. The effect of changing S was calculated as ΔΔf = Δfm(318) − Δfm(S). (B) Double cylindrical cavity. The radii ra = rm of both cavities were 3 Å, and the depth of the external cavity was De = 3 Å. The extracellular side and cavity have a constant high ionic strength of 318 mM. The reduction of potential ΔΔf was calculated (as in A) as a function of depth of the internal cavity. The calculation was done at depths 5, 10, 15, 20, and 25 Å. The symbols correspond to the experimental reductions plotted at 23 Å. |
|
|
Figure 11. Calculated effects of S in the double cavity system with low dielectric constant (É = 30) in the internal cavity. (A) The radius ra is the same for the external and internal cavity, and the mouth radius rm was varied. The geometry of the system is shown in each panel. The internal cavity depth is Di, and the external cavity depth is De. (B) Variation of the potential difference as a function of Diin the double cylinder. The internal cavity has É = 30. The function ÎÎf is calculated as ÎÎf = [Ïa(318) â Ïe(318)] â [Ïa(S) â Ïe(S)], where Ïa is the potential at the apex of the internal cavity and Ïe is the potential at the base of the external cavity. Traces are ÎÎf as a function of Di at S = 24 mM (continuous curve) and S = 12 mM (dotted curve). Open squares are the observed charge reduction for a change in internal S to 12 mM; and closed squares are the reduction in charge for a reduction of internal S to 24 mM. (C) Similar calculation as in B but using a truncated-cone double-cavity system with the dimensions indicated and ra = 3 Ã . The upper traces are values of ÎÎf as a function of Di for internal changes of S. The continuous trace is the change in potential for a change of S to 24 mM; and the dotted curve is the change of potential for a change of S from 318 to 12 mM. The data points correspond to the experimental reductions of charge at the indicated value of S plotted at a depth value of 20 Ã . The traces at the bottom of the panel are the potential changes ÎÎf induced by reducing the external value of S from 318 mM to 28 and 16 mM, while keeping internal S constant at 318 mM. In each case, the external cavity had a depth De = 3 Ã . The triangles are the experimentally measured reductions of charge for extracellular reductions of S, which are indicated. (D) The thickness of the membrane has been increased to 40 Ã . The calculation was performed as in C with ra = 3 Ã and the parameters indicated on each cartoon. The cavity was assigned a dielectric constant of 30, and the bulk extracellular and intracellular solutions had a value of 80. The depth of the membrane Di was changed to the indicated values. The ÎÎf values plotted are the potential difference across the septum for changes of S from 318 to 24 mM (continuous line) or to 12 mM (dotted line). The external cavity was fixed at 3-Ã depth. The values in the bottom of the panel correspond to the calculation for the extracellular effects of S for changes from 318 to 28 mM (continuous) or 16 mM (dotted), while keeping the internal value of S constant at 318 mM. The experimental reductions of charge as a function of S were plotted at a cavity depth of 25 Ã . (E) Effect of increasing the dielectric constant of the channel-membrane system to 4. The thickness of the membrane was 30 Ã . The dielectric constant of the cavity and bulk solutions were 30 and 80, respectively. Note that this configuration poorly predicts the observed experimental effects of S, although the effects of reducing S are qualitatively similar to those obtained with É = 2. The best fit cavity becomes smaller with É = 4 than with an É = 2. |
|
|
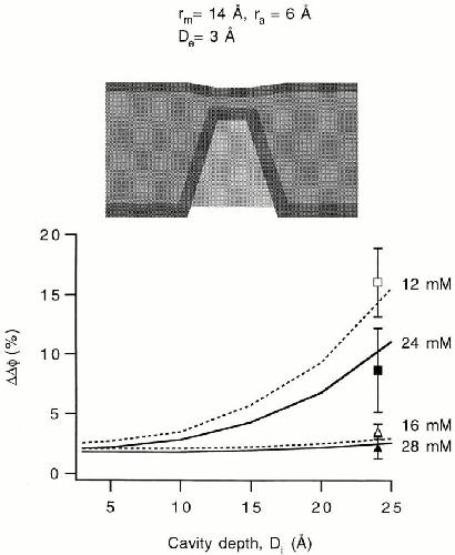
Figure 12. Effects of the inclusion of an ion depletion area in calculations using the conical geometry. Calculation with a bigger cone radius (ra= 6 Å) and mouth radius (rm = 14 Å) in the double-cone system. The external cavity depth is 3 Å. The dielectric constant of the membrane channel region is set at a value of 2, and the dielectric constant inside the cavity is set to a value of 30. The intracellular and extracellular data are plotted at 24 Å of internal cavity depth Di. There is a cutoff region of 4 Å around the internal cavity, where the value of κ is set to zero to simulate the ion exclusion effect. The cutoff around the external cavity is set to 2 Å. This is illustrated in the cartoon, which is drawn to scale, by the darker band around the cavity and the membrane–solution boundaries. |
|
|
Figure 13. Cartoon of the possible geometry of the gating pore and voltage sensor. The S4 helix is represented by the structure proposed in the model of Durell et al. 1998 as a space-filling α-helix, the charged residues are in black. The lightly shaded area represents the bulk of the channel's voltage-sensing domain, and the darker area is the pore domain (modeled after the KcsA crystal structure). The dotted lines represent an outline of the cavity around S4 that have been idealized in the electrostatic calculation. (Left) Closed conformation; (right) open conformation. It is assumed that the main conformational change is a rotation of the S4 α-helix around its axis. Upon depolarization, a small portion of the voltage sensor moves, changing the accessibility of the NH2-terminal charged residues that are more external. This movement of charged residues across the narrow area of focused membrane potential produces the gating currents. |
|
|
References [+] :
Aggarwal,
Contribution of the S4 segment to gating charge in the Shaker K+ channel.
1996, Pubmed,
Xenbase
Aggarwal, Contribution of the S4 segment to gating charge in the Shaker K+ channel. 1996, Pubmed , Xenbase
Alexov, Incorporating protein conformational flexibility into the calculation of pH-dependent protein properties. 1997, Pubmed
Antosiewicz, The determinants of pKas in proteins. 1996, Pubmed
Armstrong, Distinguishing surface effects of calcium ion from pore-occupancy effects in Na+ channels. 1999, Pubmed
Baker, Three transmembrane conformations and sequence-dependent displacement of the S4 domain in shaker K+ channel gating. 1998, Pubmed
Baukrowitz, Use-dependent blockers and exit rate of the last ion from the multi-ion pore of a K+ channel. 1996, Pubmed
Beece, Solvent viscosity and protein dynamics. 1980, Pubmed
Boccaccio, Calcium dependent shifts of Na+ channel activation correlated with the state dependence of calcium-binding to the pore. 1998, Pubmed , Xenbase
Campbell, Altered sodium and gating current kinetics in frog skeletal muscle caused by low external pH. 1984, Pubmed
Cha, Characterizing voltage-dependent conformational changes in the Shaker K+ channel with fluorescence. 1997, Pubmed , Xenbase
Chandler, The effect of changing the internal solution on sodium inactivation and related phenomena in giant axons. 1965, Pubmed
Chothia, Helix to helix packing in proteins. 1981, Pubmed
Conti, Quantal charge redistributions accompanying the structural transitions of sodium channels. 1989, Pubmed , Xenbase
Crouzy, Fluctuations in ion channel gating currents. Analysis of nonstationary shot noise. 1993, Pubmed
Cukierman, Asymmetric electrostatic effects on the gating of rat brain sodium channels in planar lipid membranes. 1991, Pubmed
Doyle, The structure of the potassium channel: molecular basis of K+ conduction and selectivity. 1998, Pubmed
Durell, Structural models of the transmembrane region of voltage-gated and other K+ channels in open, closed, and inactivated conformations. 1998, Pubmed
Dwyer, High apparent dielectric constants in the interior of a protein reflect water penetration. 2000, Pubmed
Elinder, Divalent cation effects on the Shaker K channel suggest a pentapeptide sequence as determinant of functional surface charge density. 1998, Pubmed , Xenbase
FRANKENHAEUSER, The action of calcium on the electrical properties of squid axons. 1957, Pubmed
Goldstein, A structural vignette common to voltage sensors and conduction pores: canaliculi. 1996, Pubmed
Havranek, Tanford-Kirkwood electrostatics for protein modeling. 1999, Pubmed
Heginbotham, Conduction properties of the cloned Shaker K+ channel. 1993, Pubmed , Xenbase
Heinemann, Nonstationary noise analysis and application to patch clamp recordings. 1992, Pubmed
Hille, Negative surface charge near sodium channels of nerve: divalent ions, monovalent ions, and pH. 1975, Pubmed
Hille, The effect of surface charge on the nerve membrane on the action of tetrodotoxin and saxitoxin in frog myelinated nerve. 1975, Pubmed
Hirschberg, Transfer of twelve charges is needed to open skeletal muscle Na+ channels. 1995, Pubmed , Xenbase
Hoshi, Biophysical and molecular mechanisms of Shaker potassium channel inactivation. 1990, Pubmed , Xenbase
Hurst, External barium influences the gating charge movement of Shaker potassium channels. 1997, Pubmed , Xenbase
Islas, Voltage sensitivity and gating charge in Shaker and Shab family potassium channels. 1999, Pubmed , Xenbase
Jordan, How electrolyte shielding influences the electrical potential in transmembrane ion channels. 1989, Pubmed
Karlin, Substituted-cysteine accessibility method. 1998, Pubmed
Klapper, Focusing of electric fields in the active site of Cu-Zn superoxide dismutase: effects of ionic strength and amino-acid modification. 1986, Pubmed
Larsson, Transmembrane movement of the shaker K+ channel S4. 1996, Pubmed , Xenbase
Mannuzzu, Direct physical measure of conformational rearrangement underlying potassium channel gating. 1996, Pubmed , Xenbase
Misra, Electrostatic contributions to the binding free energy of the lambdacI repressor to DNA. 1998, Pubmed
Moy, Tests of continuum theories as models of ion channels. I. Poisson-Boltzmann theory versus Brownian dynamics. 2000, Pubmed
Olcese, Correlation between charge movement and ionic current during slow inactivation in Shaker K+ channels. 1997, Pubmed , Xenbase
Perozo, Gating currents from a nonconducting mutant reveal open-closed conformations in Shaker K+ channels. 1993, Pubmed
Rashin, Internal cavities and buried waters in globular proteins. 1986, Pubmed
Rayner, Voltage-sensitive and solvent-sensitive processes in ion channel gating. Kinetic effects of hyperosmolar media on activation and deactivation of sodium channels. 1992, Pubmed
Roux, Influence of the membrane potential on the free energy of an intrinsic protein. 1997, Pubmed
Roux, Ion transport in a model gramicidin channel. Structure and thermodynamics. 1991, Pubmed
Sansom, The dielectric properties of water within model transbilayer pores. 1997, Pubmed
Schoppa, Activation of Shaker potassium channels. III. An activation gating model for wild-type and V2 mutant channels. 1998, Pubmed , Xenbase
Seoh, Voltage-sensing residues in the S2 and S4 segments of the Shaker K+ channel. 1996, Pubmed , Xenbase
Sheinerman, Electrostatic aspects of protein-protein interactions. 2000, Pubmed
Sigworth, Voltage gating of ion channels. 1994, Pubmed
Sigworth, The variance of sodium current fluctuations at the node of Ranvier. 1980, Pubmed
Son, Simulation of the packing of idealized transmembrane alpha-helix bundles. 1999, Pubmed
Starace, Voltage-dependent proton transport by the voltage sensor of the Shaker K+ channel. 1997, Pubmed
Starkus, Unilateral exposure of Shaker B potassium channels to hyperosmolar solutions. 1995, Pubmed , Xenbase
Taglialatela, Novel voltage clamp to record small, fast currents from ion channels expressed in Xenopus oocytes. 1992, Pubmed , Xenbase
Yang, Evidence for voltage-dependent S4 movement in sodium channels. 1995, Pubmed
Yang, How does the W434F mutation block current in Shaker potassium channels? 1997, Pubmed , Xenbase
Yang, Molecular basis of charge movement in voltage-gated sodium channels. 1996, Pubmed
Zagotta, Shaker potassium channel gating. II: Transitions in the activation pathway. 1994, Pubmed , Xenbase
Zimmerberg, Solute inaccessible aqueous volume changes during opening of the potassium channel of the squid giant axon. 1990, Pubmed
